OUTILS POUR L'INGENIERIE

Appréhender le fonctionnement du mécanisme :

Méthode

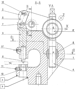
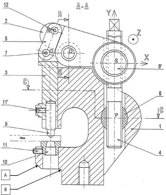
  1. Donner le nom et le rôle des pièces 10 et 11 ?

  2. Donner le rôle des pièces 11 et 11' ainsi que le nom de la famille de vis à laquelle elles appartiennent ?

  3. Nommer le procédé de fabrication du corps 1 ?

  4. Citer le nom du type de montage de la pièce 5 dans la pièce 2 ?

  5. Citer le nom du type de montage de la pièce 2 dans la pièce 1 ?

  6. Définir la matière de la noix 6 ?

  7. Nommer la forme A de la pièce 1 ?

  8. Nommer la forme B sur la pièce 1 ?

  9. Définir les formes de la pièce 3 en réalisant une perspective à main levée.

  10. Pour une vis 4 possédant le même « pas » sur ses deux parties filetées :

  11. Quelle astuce a-t-on utilisé pour doubler la vitesse d'avance ?

PrécédentPrécédentSuivantSuivant
AccueilAccueilImprimerImprimerRéalisé avec Scenari (nouvelle fenêtre)