OUTILS POUR L'INGENIERIE

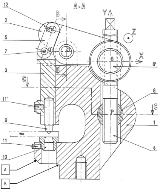
Support d'étude : Poinçonneuse à vis

Fonction de service : Enlever de la matière par simple réalisation de trous, (c'est le poinçonnage).

Plans de la Poinçonneuse à vis

PrécédentPrécédentSuivantSuivant
AccueilAccueilImprimerImprimerRéalisé avec Scenari (nouvelle fenêtre)