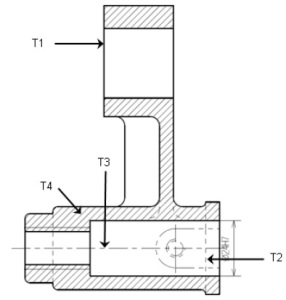
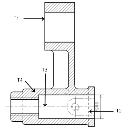
DESIGNATION | APPLICATIONS | EXEMPLE D'EXECUTION |
|---|
T1 | Continu fort | Arrêtes et contours vus | 
|
T2 | Interrompu fin Ou Interrompu fort | Arrêtes et contours cachés Fonds de filets cachés | 
|
T3 | Mixte fin | Axes de symétrie et de révolution | 
|
T4 | Continu fin | Lignes d'attache et de cote Hachures Fonds de filets vus | 
|
| Continu fin à main levée ou aux instruments avec zigzag | Limites de vues ou de coupes partielles | 
|
Mixte fin terminé par deux traits forts | Traces de plans de coupe | 
|